🌟头图有4页,第1、3页为报名人数,第2、4页为职位表,图片可放大。
🌟时间截至10月19日21:00分,距离报名结束还有4天半。
1⃣️在郑东新区税务分局的10个职位中,目前有3个职位报名人数较多,分别是7005,7007,7008。7005虽然要求2026应届毕业生,但是需求专业是法学类、中国语言文学类、新闻传播学类,这个报名人数的聚集呈现出和金水区3010岗位同样的特征。7007和7008特征一致,不要求毕业年限+电子信息类和计算机类,男女岗双向聚集。其他7个职位目前报名人数均在20人以内,尤其是要求经济学类、财政学类、财会审计类专业的岗位,呈现出持续观望态势。7009职位要求2026应届生,pass分流较多人数。
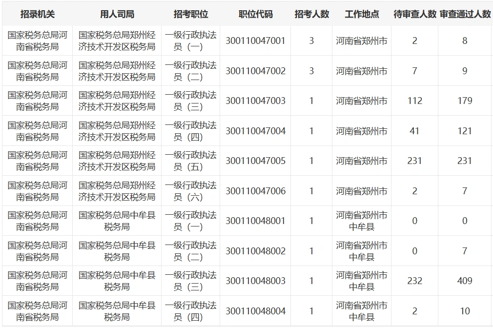
2⃣️从郑州经开区税务局的6个职位来看,7003,7004,7005这3个职位提前聚集,明显特征就是只要求专业,其他没有任何限制,因为基数较大、选择收窄较多人提前报名。其他3个要求应届生的岗位和郑东新区原理一样,但是热度低于郑东新区,部分岗位只有个位数,持续观望浓厚。
3⃣️从中牟县税务局的4个职位来看,8003岗位直接井喷,要求专业地理科学类、测绘类,其余无限制,说明这个专业因为在该区域可选择职位较少,造成了大量聚集。其他3个职位个位数,毕竟在中牟县前面,还有坚挺的市区岗在支撑着。



