3月29日歇甲的国贤府PARK开盘,热销467套,截至4月9 日已网签247 套,网签均价55152.47元/㎡;
同日,17号线旁的未来城·星寰时代也开盘,官宣热销389套,当前已网签148 套,51737.82元/㎡;
而东小口的北京城建·龙樾海序,迟迟不开售楼处与样板间,规证刚拿到,预计本周开放。
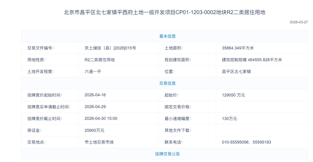
就在本月,昌平另一个曾经的“网红”地段也将迎来新星——北七家镇平西府土地一级开发项目CP01-1203-0002地块。
平西府0002地块位于昌平北七家镇,具体四至为东至平西府东路、西至平西府中路、南至平西府南路、北至CP01-1203-0001地块。
地图上搜北清橡树湾,东侧紧邻地块便是。
地块距离地铁8号线平西府地铁站直线约1.2公里,步行距离约1.9公里,不算友好。
自驾非常友好。北侧出门便是北清快速路,去年10月已经通车,西往海淀,东向未来科学城,都非常便捷。
至于该宗地被讨论最多的问题,是由两条交通线路带来:平西府站是地铁车辆检修基地,夜间检修、试车、车辆进出库,恐有噪音影响。
其次北清快速路虽在小区附近加装了隔音屏障,但首排房源依旧需要加装隔音窗来避免噪音侵扰——当然,参考北清橡树湾,这些房源定价上也会有明显价差。
不知道实际居住噪音情况如何?有住在附近的朋友可以聊聊~
该地块起始价12.905亿元,楼面起始价约2万元/平㎡。
邻居北清橡树湾,容积率2.5,2022年拿地楼面价3.5万元/㎡,也曾红极一时,快速清盘。
而0002地块,更为低密,楼面价更低,还有“好房子”带来的阳台、飘窗、架空层的加持,未来无论在舒适度还是二手房表现上,都比北清橡树湾更有成长空间。
有传闻称华润置地继续接手平西府0002地块,打造"北清橡树湾二期"。
如属实,以华润的品牌号召力加上1.8的超低容积率,产品力将更上一个台阶。
4月30日,这块地将正式现场竞价







