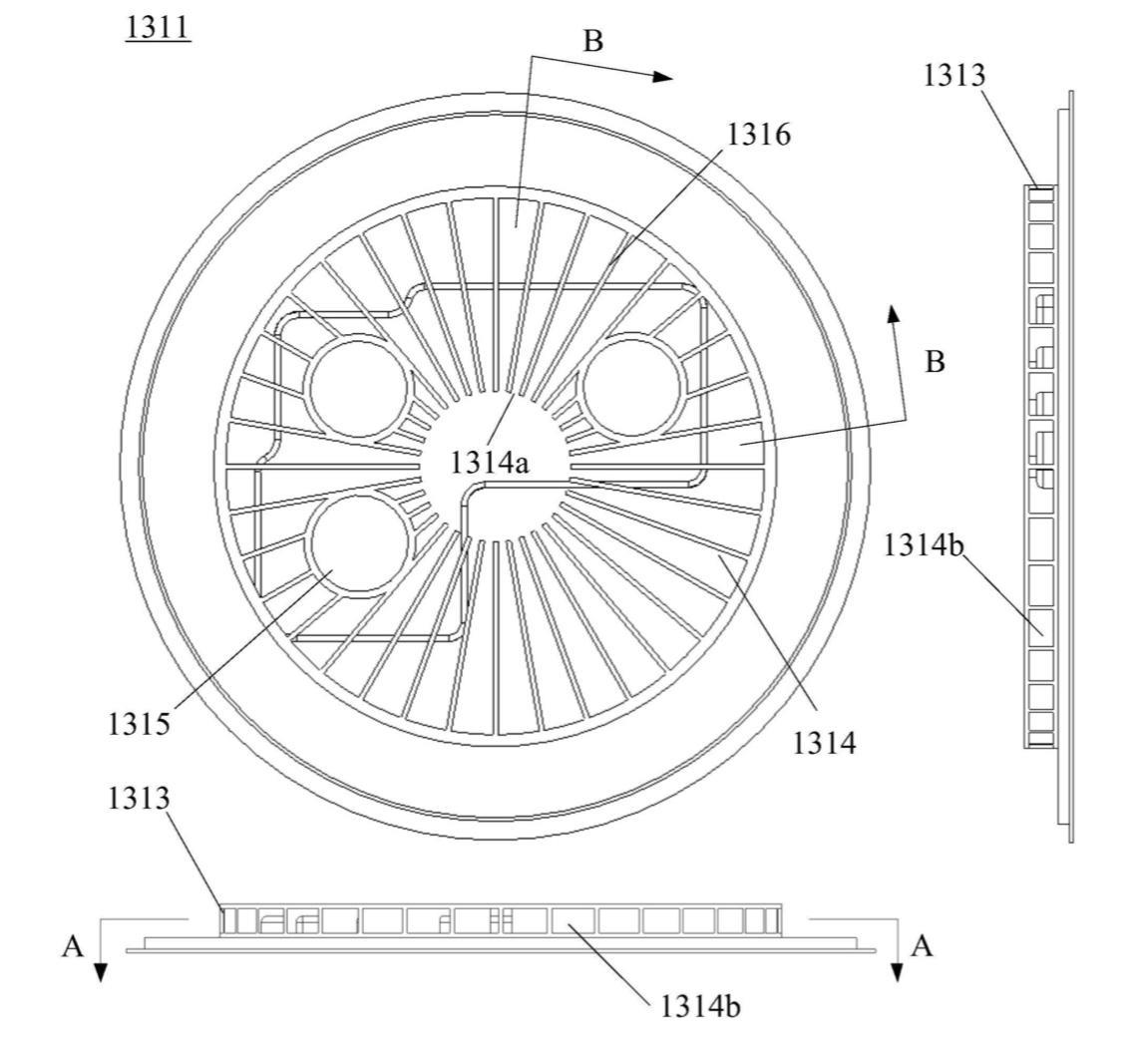
【华为最新主动散热专利曝光】华子还挺有想法,专利图中可以看出来几个点,机器采用圆环镜组设计,但亮点在于镜组上融入了主动散热风扇,侧边就是出风口,这么搞的话那就和其它家有很大区别了,莫非华子也想在散热方面做点文章,这设计你们觉得咋样?[吐舌]









【华为最新主动散热专利曝光】华子还挺有想法,专利图中可以看出来几个点,机器采用圆环镜组设计,但亮点在于镜组上融入了主动散热风扇,侧边就是出风口,这么搞的话那就和其它家有很大区别了,莫非华子也想在散热方面做点文章,这设计你们觉得咋样?[吐舌]









作者最新文章
热门分类