界面新闻记者|李香才
12月3日,烟台芝罘万达广场有限公司股东信息发生变更,苏州联商玖号商业管理有限公司取代上海万达锐驰企业管理有限公司,成为持有烟台芝罘100%股权的新股东。烟台芝罘法定代表人从吴华变更为牟舟。
而就在前一天,烟台芝罘刚刚发生工商变更,新华保险旗下坤华(天津)股权投资合伙企业(有限合伙)、坤元辰兴(厦门)投资管理咨询有限公司退出股东行列,大连万达商管旗下上海万达锐驰企业管理有限公司成为新股东。此次股权变更前,坤华(天津)股权投资合伙企业(有限合伙)、坤元辰兴(厦门)投资管理咨询有限公司分别持有烟台芝罘99.99%和0.01%股权;变更后,万达锐驰持有烟台芝罘100%股权。
伴随股权变更的是管理层的“换血”,烟台芝罘原董事长朱欣、原董事兼财务负责人周纯昊、原董事王轩、原监事支小可等卸任,由万达锐驰法定代表人吴华接管,出任烟台芝罘新的法定代表人。
万达锐驰为大连万达商业管理集团股份有限公司全资子公司。近年来,万达一直在出售资产,此次赎回一座万达广场,引发业内猜测,这是否意味着大连万达商管最艰难的时刻已经过去?然而,实质上并没有表面看起来如此简单。
原本只是一次“赎回”操作,而随着万达把烟台芝罘股权转让给苏州联商玖号,这一操作也从“赎回”变成了“过桥”。
业内人士分析指出,这种涉及固定资产交易的过桥操作比较常见。如果险资直接把资产转让给国资背景的苏州联商玖号,就会面临交易定价公允与程序合规问题。而双方经由万达过桥之后,交易形式就从国资接盘险资,变成了国资从地产公司收购优质资产。
企查查信息显示,苏州联商玖号是一家2025年8月22日新成立的公司,法定代表人为牟舟。穿透股权来看,苏州联商玖号背后则有中联前源不动产基金管理有限公司的身影。近年来,随着万达出让万达广场,中联基金旗下公司已接管了多座万达商业体。
中联基金官网信息显示,中联基金长期专注于以REITs为核心的创新不动产金融业务,聚焦产业不动产、消费基础设施、租赁住房、新能源基础设施等领域,在不动产金融领域具备核心优势。
北京盈科(上海)律师事务所资产律师陆鼎对界面新闻分析说:“从中联基金(苏州联商玖号)收购性质来看,中联基金未来是要通过资产证券化来流通变现。这样相当于和万达组成了金融+运营的优势互补模式,中联基金负责重资产投入,万达负责轻资产运营,最后通过REITs退出,各得其所。”
中国企业资本联盟副理事长柏文喜分析称,接下来,万达非核心、低毛利、低成长项目继续出表;而核心区位、高客流、高租金项目则有望择机回购,为2026年可能的商管整体上市或消费基础设施REITs扩募储备优质资产。
从政策端来看,国家发改委近日印发《基础设施领域不动产投资信托基金(REITs)项目行业范围清单(2025年版)》,消费基础设施(包括百货商场、购物中心、商业街区等)、商业办公设施、城市更新设施等项目均可申报。
证监会近日发布《中国证监会关于推出商业不动产投资信托基金试点的公告(征求意见稿)》。此举是为推动不动产投资信托基金(REITs)市场高质量发展,丰富资本市场投融资工具,支持构建房地产发展新模式。
全球范围来看,商业不动产一直是REITs产品的核心底层资产。在我国,商业不动产存量规模庞大,大量优质商业物业沉淀了巨额资金。此次证监会推出商业不动产REITs试点,通过REITs,可以让商业不动产资产实现证券化流转,也可以为市场提供更多稳定收益的投资标的,更重要的是可以推动房地产行业探索新的发展路径。
对房地产行业来说,商业不动产REITs试点的推出可谓新的融资渠道。当前房地产行业处于转型关键期,通过REITs盘活存量商业不动产,可有效降低企业负债、优化现金流,帮助企业构建轻资产运营的新模式。
事实上,早在2024年7月,万达将烟台芝罘股权出售给坤华投资和坤元辰兴。
陆鼎对界面新闻分析说:“之前万达转让烟台芝罘股权,本质上类似于有对赌条款的出让与担保,说得透彻一点就是坤华投资和坤元辰兴作为险资资管机构要的不是物权,而是以持有物权作为担保,其收购本质上是一笔债权,目的是获取期间稳定甚至保底的年化收益。所以万达会在这笔交易中嵌入一个回购条款,也就是为什么要赎回。”
对于赎回后再度转让,而不是双方直接交易,陆鼎分析说:“当时转让烟台芝罘万达广场,是万达轻装上阵战略的一部分。万达舍不得核心资产,险资不善经营只要收益,就变成了险资持有,但还是委托万达轻资产经营。这也是为什么苏州联商玖号不直接与险资交易的原因,因为赎回条款在,产权是有限制的,不存在直接交易的通道。”
根据公开信息,烟台芝罘万达广场位于烟台市芝罘区核心商圈,总建筑面积达119万平方米,其中商业部分24万平方米,项目于2014年11月21日正式开业。烟台芝罘万达广场因地理位置等优势,成为烟台重要的商业中心之一。数据显示,烟台芝罘万达广场年租金约1.2亿元,净租金回报率6%以上,可以算是万达体系内比较优质的现金流资产。
陆鼎告诉界面新闻:“当年实际上就是险资帮万达度过了难关,险资也拿到了期间保底收益,可以说是双赢。”
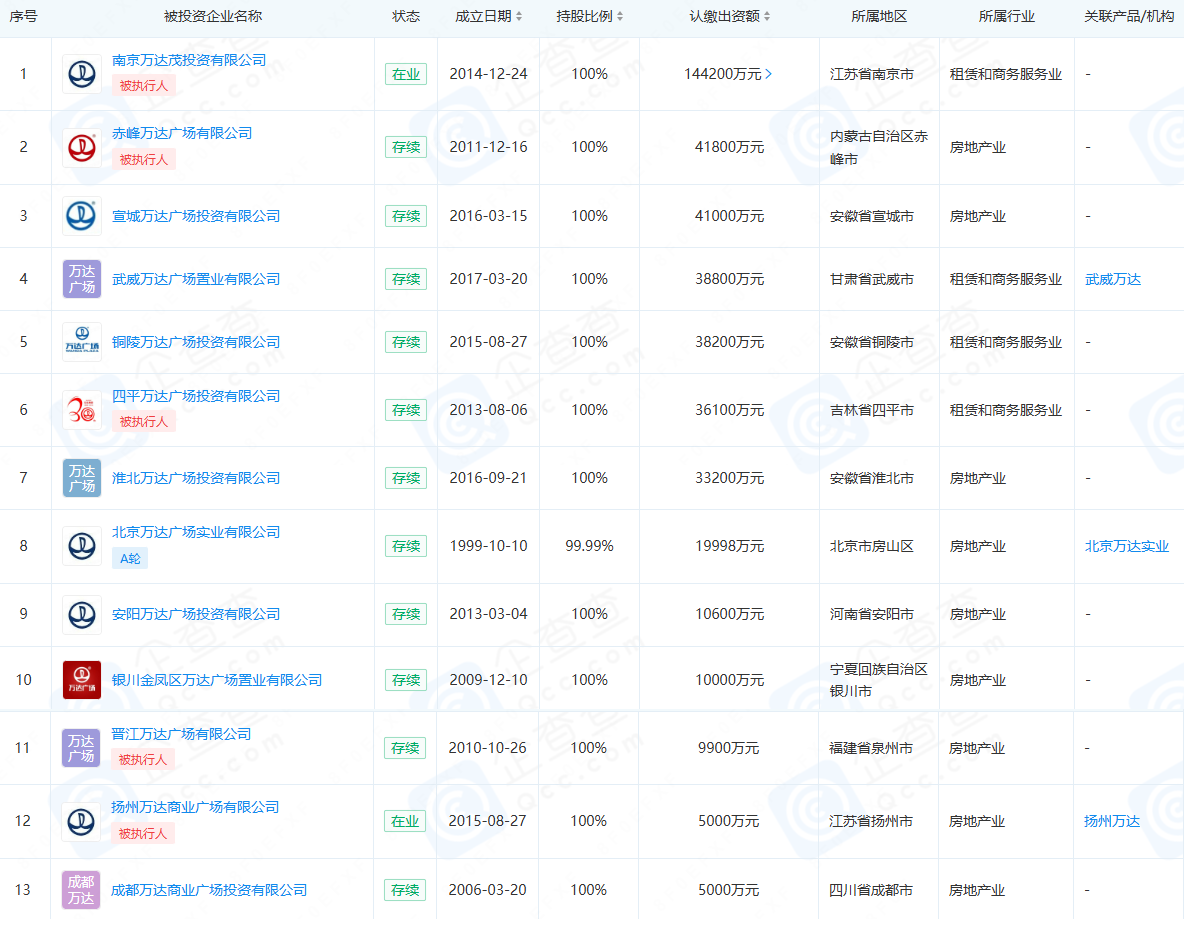
除了烟台芝罘万达广场之外,坤华投资目前仍持有多家万达广场的股权。

坤华投资对外投资企业。截自企查查
此外,此前收购万达广场的买家中,还包括阳光保险、大家人寿、太保资本、中银三星保险、横琴人寿等险资。今年5月,由太盟、高和丰德、腾讯、潘达商管、阳光人寿保险等共同设立合营企业,共同收购48个万达广场项目公司100%股权时,依然存在险资身影。
不过,万达广场依然由万达商管运营,这一点并未发生变化。
需要看到,万达目前的债务压力依然不容小觑,这也意味着万达为资产负债表“瘦身”的轻资产发展方向短期内难以改变。而随着商业不动产REITs试点的推出,为企业轻资产运营提供了一个新的路径。