万益资讯网
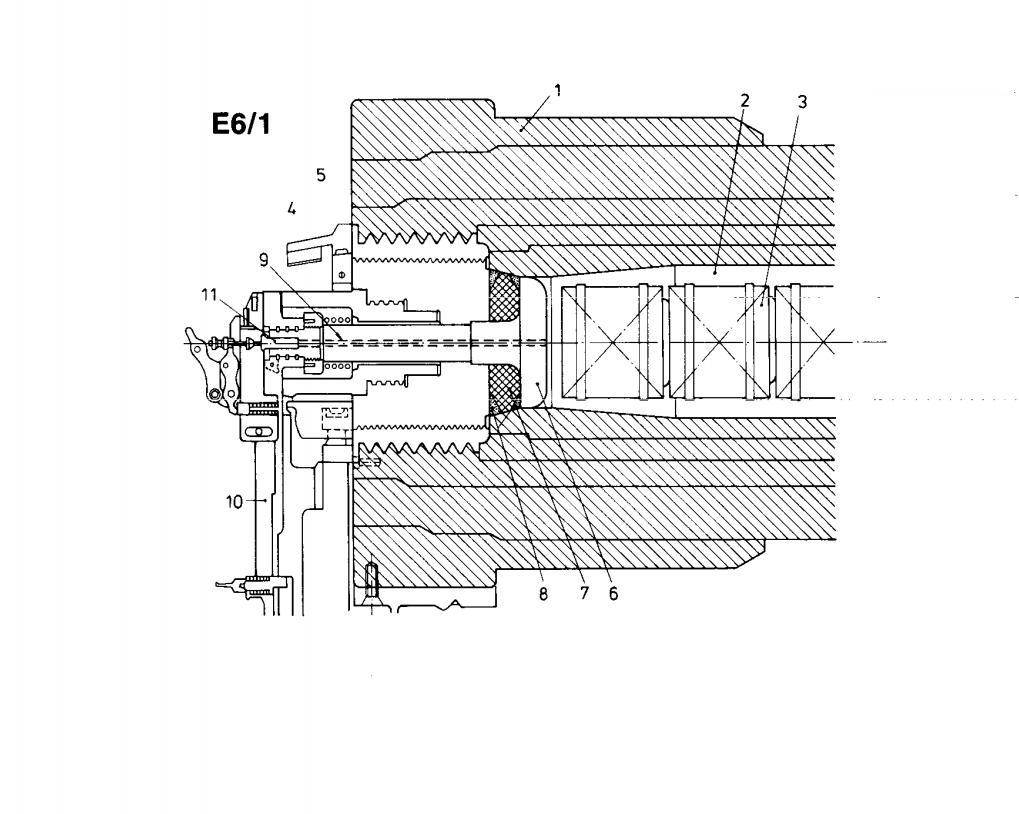
大和号460主炮塔设计图欣赏
倩倩深蓝
2025-12-08 13:44:50
大和号460主炮塔设计图欣赏
0
阅读:0
猜你喜欢
8千破3万,中国足坛的萨尔浒之战!足协杯决赛之后,网友“深圳吐槽君”坦言国安球
【1评论】
北京国安
足协杯
言秦九日
2025-12-07
北京国安颁奖台上唯一情绪落寞的人!北京国安时隔七年圆梦捧得足协杯,全队身穿领奖
【2评论】【2点赞】
北京国安
足协杯
中超
漫步人生如画
2025-12-08
说个有点离谱的事,bin打了6年了,现在还是lpl第三年轻的上单,联赛真没年轻人
【1评论】【1点赞】
bin
上单
lpl
电竞姬
2025-12-02
倩倩深蓝
感谢大家的关注
作者最新文章
1
大和号460主炮塔设计图欣赏
2
1967年参加越战的堪培拉号重巡(CAG-2) 培拉号重巡洋舰(USS Canb
3
防空炮组全面戒备!——克利夫兰级轻巡洋舰多图欣赏。 “克利夫兰”级轻巡洋舰以其强
4
不对比体现不出衣阿华级战列舰有多大! 图1:1993年5月17日,退役战列舰新泽
5
衣阿华级战列舰的伪装设计方案之一。 美国海军舰船局为衣阿华级战列舰设计的伪装方案
6
西班牙级战列舰老照片欣赏。 西班牙级战列舰是西班牙海军建造的一级战列舰,同级舰包
7
退役后的戈本号战列巡洋舰细节图欣赏! 戈本号战列巡洋舰是德国毛奇级2号舰,190
8
俾斯麦号战列舰的380毫米主炮、150副炮及105毫米高射炮欣赏。
9
太平洋舰队演习中的爱达荷号战列舰彩色照片。 时间大约为1940年,地点位于夏威夷
10
我近期创作的内容被官方加热啦!👍你也快来发布一条吧!带
热门分类
推荐
热榜
军事
NBA
体育
社会
明星八卦
娱乐
财经
科技
汽车
历史
国际
游戏
动漫
公益
搞笑
商业
互联网
数码
国际足球
房产
家居
时尚
科学探索
职场
育儿
股票
教育
影视
情感
热点
中国军情
武器
中国南海
中国足球
亚洲杯
科比
综合体育
CBA
投资
大咖秀
外汇
创业
风口
SUV
豪车
概念车
优惠
新能源
美国
欧洲
朝日韩
俄罗斯
孕期
街拍
婚姻
正能量
军事
TOP
1
#北约发现自己没上桌#【等着美国问意见的北约才发现,原来自己没“上桌”】#北约
2
持续翻炒“中国介入俄乌冲突”这种陈词滥调,欧盟外交与安全政策高级代表卡拉斯自己说
3
【#马克龙说坚定奉行一个中国政策#】#中法就乌克兰危机交换意见#央视新闻客户端
4
#俄罗斯准备接纳无限数量的印度工人#【缺劳动力,俄副总理:准备迎接无限量印度工人
5
【#马克龙向泽连斯基分享访华期间会谈#】#马克龙用中文感谢中国#当地时间12月
6
#欧盟想对美脱钩又怕美国不管乌克兰#【“欧盟纠结:又想对美脱钩,又怕美国撒手不
7
【普京:追究纳粹罪行不存在时效限制】据俄罗斯卫星通讯社、“今日俄罗斯”(RT)2
8
#乌称俄方发动大规模袭击#【“发现米格-31K战机起飞”!乌方:俄对乌多地设施发
9
【#美国不再将俄列为直接威胁#,俄方回应】近日,美国发布新版国家安全战略报告,
10
【#普京与美特使会晤近5小时#】#俄方称与美会谈富有成效#据俄罗斯卫星通讯社3日
军事
最新文章
1
【#美国不再将俄列为直接威胁#,俄方回应】近日,美国发布新版国家安全战略报告,
2
#俄罗斯准备接纳无限数量的印度工人#【缺劳动力,俄副总理:准备迎接无限量印度工人
3
【#马克龙向泽连斯基分享访华期间会谈#】#马克龙用中文感谢中国#当地时间12月
4
#美乌会谈期间俄大规模袭乌#【美乌会谈,俄大规模袭乌】据美联社12月6日报道,在
5
#乌称俄方发动大规模袭击#【“发现米格-31K战机起飞”!乌方:俄对乌多地设施发
6
#俄就日本涉台言论最新表态#【俄罗斯外交部:日本近期涉台好战言论具有煽动性且违
7
#普京不希望俄罗斯重返八国集团#【普京:不希望俄罗斯重返八国集团】据俄罗斯卫星社
8
【#马克龙说坚定奉行一个中国政策#】#中法就乌克兰危机交换意见#央视新闻客户端
9
【欧盟高官放话:这招对中国还不奏效,就拿出“核武器”】#欧盟高官对华放狠话#为
10
#北约发现自己没上桌#【等着美国问意见的北约才发现,原来自己没“上桌”】#北约