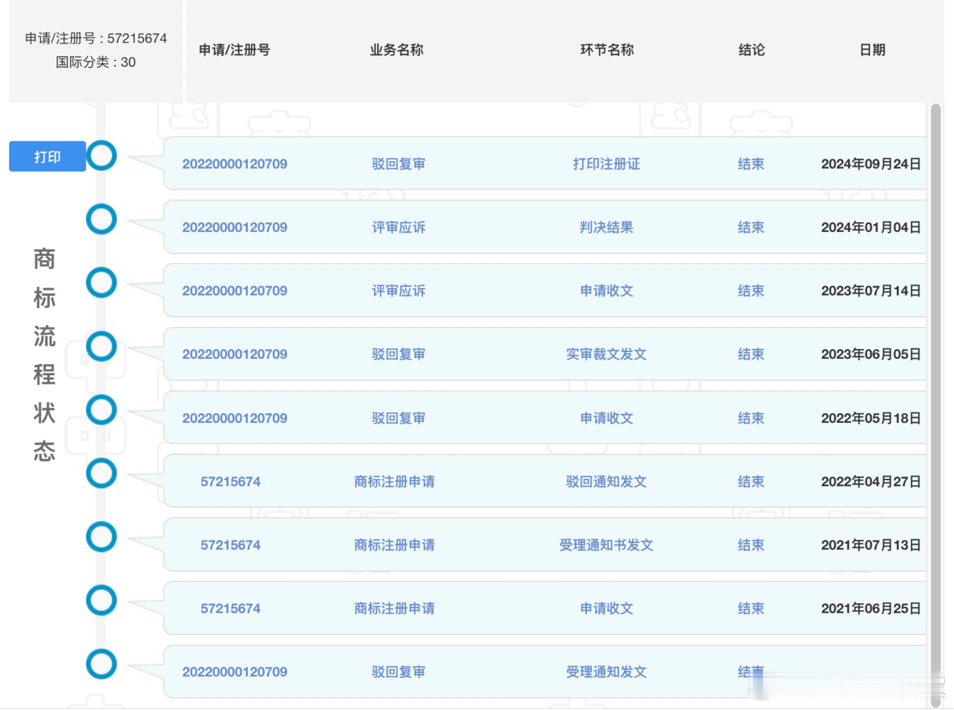
关于“小米”投诉“卖小米”的视频下架一事,因为有很多朋友纷纷来我的评论区批评指导,并对我进行了全方位的嘘寒问暖,因此我特意去查了一下“小米”商标的一些情况。真是不查不知道,一查才知道。原来粮食类别的“小米”商标,确实也在小米公司手里,而且取得的过程真的可以说是契而不舍,势在必得。可能有些朋友不了解商标法和商标注册的一些技术细节,我简单介绍一下。中国的商标注册是分类别的,大体分为45大类,每一类代表一个大概的范围。你注册商标时可以选择其中一个类别,或者多个类别。比如说,你是一个车企,需要给你的汽车品牌注册一个叫“大明白”的商标,那么就可以申请第12类“车辆,陆、空、海用运载器”。这时候,隔壁卖烟花爆竹的也要注册一个商标,也想叫“大明白”,而烟花爆竹及军火的商标大类为第13类,所以就去申请了13类的“大明白”。如果一切顺利,没有被驳回的话(虽然可能性大不,但不是不可能),汽车企业和卖烟花的企业,同时拿到了“大明白”的商标。此时,汽车的大明白和烟花爆竹的大明白都是合理、合规、合法的,都可以叫“大明白”。但如果汽车企业卖车载烟花爆竹,或爆竹企业打算造车,那就涉嫌侵权了。各位大概明白这个意思了吧?也就是说,如果你想保护你的商标,你就需要把45个大类统统申请注册下来。但实际几乎是不可能的,商标局会进行审核,如果你商标被视为“通用词”,或者显著性不足,或者不符合公序良俗,或者你公司资质与申请商标用向及类别不符,大部分都是会被驳回的。题外话,当年“汽车之家”的商标就被视为“通用词”,数次被驳回,最后好像终审落个谁也不独占的结果。所以,能把“通用词”也就是大家约定俗成的词语注册成商标,那是相当有技术难度的。呃…文字和图形商标这事儿更复杂,咱们有机会再进一步聊。回到主题,小米公司在第9类(电子产品,如手机、计算机等)注册成功,并已认定为驰名商标,具有一定的跨类保护能力。也就是说哪怕另外44个大类没有注册,如果出现商标及相关纠纷,会有一定的保护措施。重点来了!!!作为粮食的“小米”,理论上属于第30类(咖啡、茶、米、食用淀粉、面粉和谷类制品等),而“小米”在粮食这一类别里,理论上讲是非常标准的“通用词”,所以小米公司去申请作为自家商标肯定是要被驳回的,事实也是如此。从下图小米公司申请30类商标“小米”的流程时间线就能看出,该商标经历了初审驳回、驳回复审驳回、行政诉讼胜诉、重审初步审定公告,并于2024年6月14日核准注册。换句话说,就是最初申请被驳回,申请复审又被驳回,不服气就去法院起诉商标局做行政诉讼,最后法院官司打赢了,商标局给了小米公司30类“小米”的商标注册。因此,如果小米公司真的要以商标权为由,起诉市面上任何一个以“小米”为名销售粮食小米的机构或个人,在法律层面上确实有一定的支持和理论依据。粮食30类“小米”商标的有效期【2024年08月14日 至 2034年08月13日】,申请/注册号:57215674。同时小米科技有限责任公司委托北京尚伦律师事务所,在45个类别里注册了“小米”及周边商标超过6000余个,基本做到了全覆盖、全保护。事大概就是这么个事儿,本文仅作为信息及知识分享,没有任何评判,仅供各位参考~~小米村支书卖小米被投诉下架商标


